加工材質と径について  ・  HPM50の加工 

純モリブデン(材質)のツマミネジの加工について

 カテゴリ:【 オリジナル製品 】    純モリブデン(材質)のツマミネジの加工についてをYahoo!ブックマークに追加

Exif_JPEG_PICTURE                                              Exif_JPEG_PICTURE                                              Exif_JPEG_PICTURE                                                 
▲ 特徴-純モリブデンのネジ

純モリブデンのネジは切削で加工した場合(一般的な加工方法)、必ずネジ部の仕上げ面の
ザラツキや、ネジの山欠けが発生します。(例1)。弊社では、切削によりその問題を解決し、
これにより推ネジ側へのネジの悪影響を軽減することが可能です。


neji


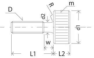
▲ ネジ各寸法詳細一覧表
D L1 L2 d1 d2 w m R C
(ネジ外径) --- --- ツマミ外径 逃げ溝径 逃げ溝幅 モジュール --- ---
M2x0.4 5~8 4~6 任意 1.4 1 任意 0.2 0.5
M2.5x0.45 5~10 4~6 任意 1.8 1 任意 0.2 0.5
M3x0.5 5~15 5~10 任意 2.2 1 任意 0.2 0.5
M4x0.7 5~20 5~10 任意 2.9 1.5 任意 0.2 0.5
M5x0.8 5~25 5~10 任意 3.7 1.5 任意 0.2 0.5
M6x1.0 5~25 5~10 任意 4.5 1.5 任意 0.2 0.5
M8x1.25 5~10 5~10 任意 6.2 2 任意 0.2 0.5


▲ フランク面 (良品) ※ 倍率x100

01 02


・・・ フランク面 (不良品)--むしれやカケ ※ 倍率x100

純モリブデンの切削加工が非常に難しいのは、切削条件や工具の調整が重要で
少しでも誤って加工を行うと、下記のようにネジ山を殺してしまいます。

材料も非常に高価で難度が高い加工です。

04 05


▲ 注意事項 (必ずお読みください)
1.使用環境により、指定する純モリブデンをご指定の場合、弊社にて自給できないことも考えられる為
お手数ですが、お客様から支給して頂く場合もあります。

2.純モリブデンの材料は大変高価であることと、その時々に相場が変動する可能性が高いため、お見積もり
はその状況に応じて反映させて頂きます。

3.一覧表にあるネジ以外にご希望(形状、ネジの種類等)の場合はお問い合わせください。

4.現状、加工可能サイズはM2からM8までのサイズとなります。

5.受注生産の為、納期は打ち合わせが必要となります。

 純モリブデン(材質)のツマミネジの加工についてのトラックバック